Novinky
13.12.2025
Nové funkce v e-shopu
Nedávno jsme v našem e-shopu spustili dva nové užitečné nástroje. Prvním z nich je funkce hlídacího psa, která umožňuje i neregistrovaným zákazníkům h...
číst celé
10.11.2025
Ještě nemáte zimní krycí plachtu na karavan? Kupte ji u nás!
Zima je doslova za dveřmi a pokud nemáte karavan pod střechou, je nejvyšší čas ho schovat před nepřízní počasí. Sníh, mráz a vlhkost mohou během někol...
číst celé
- Úvod
- Díly a příslušenství karavanů
- Markýzy a předstany
- Montážní adaptéry
- Adaptér sada Rapido, série 9
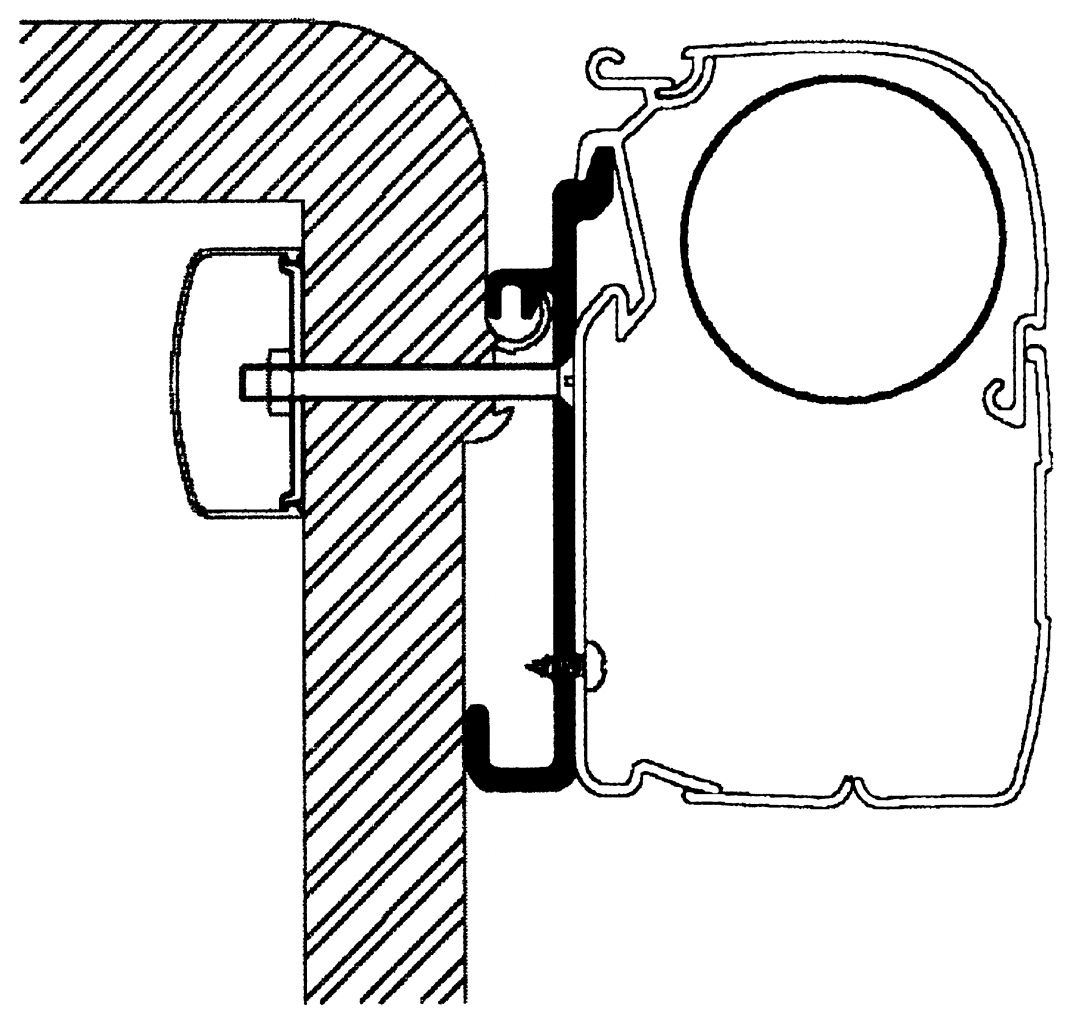
Adaptér sada Rapido, série 9

Přidáno do oblíbených
Produkt snadno najdete ve svém seznamu oblíbených, odkud jej můžete kdykoli přidat do košíku nebo sdílet s ostatními.
- Kompletní specifikace
- Hodnocení 0
- Komentáře 0
Adaptér sada Rapido, série 9Na dotaz2 161 Kč/ ks1 786 Kč bez DPH
Kompletní specifikace
Parametry:
Další informace: vozidlově specifické stěnové adaptéry pro obytná vozidlaPro rekreační vozidlo: Obytné vozidlo
Parametry: Sada
Označení: adaptér Rapido, série 9
Adaptér desky: 4
Model vozidla: Rapido Série 9
Vhodné pro: stěnové markýzy série 5, 8
Zboží je zařazeno v kategoriích




